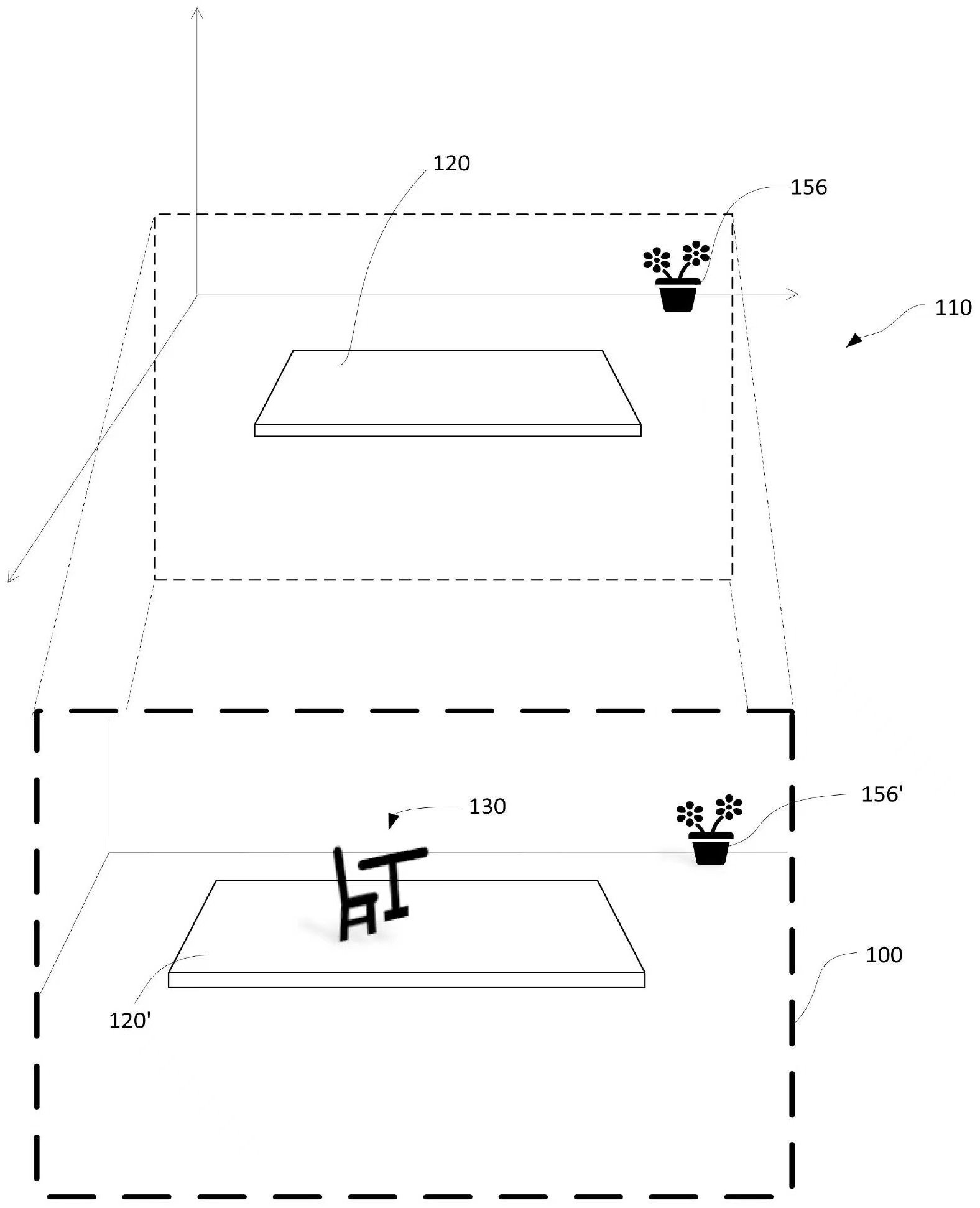
凤凰网科技讯 3月3日下午消息 天眼查App显示,苹果公司“用于对象的三维预览的设备、方法和图形用户界面”专利公布。该专利在三维环境中能够让人看到一个三维预览并且能与二维内容同时展现,可与同一空间的虚拟对象进行交互。

来源:天眼查

来源:天眼查

来源:天眼查
摘要显示,本公开在电子设备处在三维环境中可以生成并且呈现内容的三维预览,内容的该三维预览可与在该三维环境中呈现的内容生成环境中的该内容的二维表示同时呈现。当在该三维环境中呈现内容的该三维预览时,可以提供一个或多个示能表示用于与该三维预览的一个或多个计算机生成的虚拟对象进行交互,该一个或多个示能表示可以与该三维环境中的内容的该三维预览一起显示。
发表评论